CONTROVERSES NUCLEAIRES !
ACTUALITE NUCLEAIRE
2008
avril
Etats-Unis: Invention, Diamond-cooled nuclear reactor
ADIT, http://technology.newscientist.com

     Nuclear plants can fail when the heat from the reactor is not removed quickly enough from the core. This can happen in pressurised water nuclear reactors if the water in the cooling system boils, because steam is a much poorer conductor of heat than liquid water.
     These reactors have a primary water cooling system that directly takes heat away from the reactor. It is sealed under huge pressure to prevent it boiling and conducts heat to a secondary water cooling system that is not sealed.
     But this secondary system is also at risk of boiling. If that happens, heat builds up in the primary cooling system, which can lead to meltdown.
     Ronald Baney and colleagues at the University of Florida in Gainesville, think they can tackle this problem by turning to diamond – one of the best heat conductors known to science.
     Their idea is to add diamond nanoparticles to the water of the secondary cooling system to dramatically improve its ability to transfer heat.
     Baney and colleagues say such nanoparticles are chemically inert and radiation resistant, so are unlikely to clump together in a way that could block the cooling system. However, they don't say how much a diamond-based heat transfer fluid might cost.
     Read the full diamond-cooled nuclear reactor patent application:
http://www.wipo.int/patentscopedb

NUCLEAR REACTOR HAVING EFFICIENT AND HIGHLY STABLE THERMAL TRANSFER FLUID
Pub. No.: WO/2008/005590
International Application No.: PCT/US2007/062582
Publication Date: 10.01.2008
International Filing Date: 22.02.2007
IPC: G21C 15/28 (2006.01)
Applicants:
UNIVERSITY OF FLORIDA RESEARCH FOUNDATION, INC. [US/US]; 223 Grinter Hall, Gainesville, FL 32611 (US) (All Except US).
BANEY, Ronald, H. [US/US]; 5111 Nw 76th Lane, Gainesville, FL 32653-1135 (US) (US Only).
TULENKO, James, S. [US/US]; 10226 Sw 49th Lane, Gainesville, FL 32608 (US) (US Only).
POWERS, Kevin, W. [US/US]; 5007 Sw 75th Lane, Gainesville, FL 32653 (US) (US Only).
Inventors:
BANEY, Ronald, H. [US/US]; 5111 Nw 76th Lane, Gainesville, FL 32653-1135 (US).
TULENKO, James, S. [US/US]; 10226 Sw 49th Lane, Gainesville, FL 32608 (US).
POWERS, Kevin, W. [US/US]; 5007 Sw 75th Lane, Gainesville, FL 32653 (US).
Agent:
JETTER, Neil, R.; Akerman Senterfitt, P.o. Box 3188, West Palm Beach, FL 33402-3188 (US).
Priority Data: 60/775,736, 22.02.2006 US

Title: NUCLEAR REACTOR HAVING EFFICIENT AND HIGHLY STABLE THERMAL TRANSFER FLUID
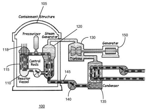
Abstract: A pressurized water nuclear reactor (PWNR) (100) includes a core having a containment shield (105) surrounding a reactor vessel (110) having fuel assemblies that contain fuel rods filled with fuel pellets (115), and control rods (118), and a steam generator (120) thermally coupled to the reactor vessel (110). A flow loop includes the steam generator (120), a turbine (130), and a condenser (135), and a pump (140) for circulating a water-based heat transfer fluid (145) in the loop. The heat transfer fluid (145) includes a plurality of nanoparticles having at least one carbon allotrope or related carbon material dispersed therein, such as diamond nanoparticles.

Designated States:
AE, AG, AL, AM, AT, AU, AZ, BA, BB, BG, BR, BW, BY, BZ, CA, CH, CN, CO, CR, CU, CZ, DE, DK, DM, DZ, EC, EE, EG, ES, FI, GB, GD, GE, GH, GM, GT, HN, HR, HU, ID, IL, IN, IS, JP, KE, KG, KM, KN, KP, KR, KZ, LA, LC, LK, LR, LS, LT, LU, LV, LY, MA, MD, ME, MG, MK, MN, MW, MX, MY, MZ, NA, NG, NI, NO, NZ, OM, PG, PH, PL, PT, RO, RS, RU, SC, SD, SE, SG, SK, SL, SM, SV, SY, TJ, TM, TN, TR, TT, TZ, UA, UG, US, UZ, VC, VN, ZA, ZM, ZW.
African Regional Intellectual Property Org. (ARIPO) (BW, GH, GM, KE, LS, MW, MZ, NA, SD, SL, SZ, TZ, UG, ZM, ZW)
Eurasian Patent Organization (EAPO) (AM, AZ, BY, KG, KZ, MD, RU, TJ, TM)
European Patent Office (EPO) (AT, BE, BG, CH, CY, CZ, DE, DK, EE, ES, FI, FR, GB, GR, HU, IE, IS, IT, LT, LU, LV, MC, NL, PL, PT, RO, SE, SI, SK, TR)
African Intellectual Property Organization (OAPI) (BF, BJ, CF, CG, CI, CM, GA, GN, GQ, GW, ML, MR, NE, SN, TD, TG).
Publication Language: English (EN)
Filing Language: English (EN)
traduction http://www.enerzine.com

     Les centrales nucléaires peuvent connaître de sérieux problèmes lorsque la chaleur du réacteur n'est pas évacuée assez rapidement du coeur.
     Cela peut survenir dans des réacteurs à eau pressurisée si l'eau du système de refroidissement du réacteur se met à bouillir, parce que la vapeur est un conducteur de chaleur bien moins performant que l'eau sous forme liquide.
     Ces réacteurs ont un système de refroidissement à eau qui absorbe directement la chaleur du réacteur. Il est scellé sous haute pression afin d'éviter que l'eau ne bouille, et conduit l'eau vers un second système de refroidissement qui lui n'est pas scellé.
     Mais ce système secondaire n'est pas à l'abri de tout risque d'ébullition. Si cela arrive, la chaleur s'accumule dans le système de refroidissement primaire, ce qui peut conduire à une fusion.
     Ronald Baney et ses collègues de l'Université de Floride pensent qu'ils peuvent s'attaquer à ce problème grâce au diamant, l'un des meilleurs conducteurs de chaleur que connaît la science.
     Leur idée consiste à injecter des nanoparticules de diamant dans l'eau du système de refroidissement secondaire, de manière à améliorer de manière significative sa capacité à transférer la chaleur.
     Barney et son équipe disent que ces nanoparticules sont chimiquement inertes et résistent aux rayonnements. Elles sont en outre peu susceptibles de s'agglutiner de manière à bloquer le système de refroidissement.

     Un aspect n'a pas été pris en compte dans leur étude : combien pourrait coûter un fluide caloporteur à base de diamant?...


Commentaire de la rédaction de la Gazette Nucléaire:

C'est une piste, mais il y a loin des pistes aux réalisations...